您现在的位置: 新语文 >> 市场营销 >> 营销攻略 >> 营销战略 >> 正文
[组图]商业房地产开发前期应该调查什么(下)           ★★★ 【字体:
商业房地产开发前期应该调查什么(下)

作者:佚名     人气:228    全球最全的财富中文资源平台

六、未来商业地产的供应量分析
  在一个区域内做商业地产,必须首先调查该区域未来商业地产的供应量、业态规划和设计,对许多开发商来讲,以前在开发住宅项目的时候没有这方面的意识,因为住宅的需求量大,进行市场定位和细分的空间广阔。而商业不同,它最终取决于租赁和销售后的经营如何去支撑。所以,不论是经营者还是投资人在选择商铺的时候都会慎重考虑。
  在前期调查中,首先应考虑区域的规划情况,了解其规划的规模、开发的时间等。商业地产的供应量是一个非常重要的因素,它直接决定我们未来的商业做多大,做什么。在《城市居住区规划设计规范》中,明确规定了居住区人口规模和商业配套的面积,对公共服务设施的控制指标,即每千人商业服务建筑面积700-910平方米;社区服务每千人指标59-464平方米;金融邮电每千人指标60-80平方米,以上合计819-1454平方米。根据具体项目的不同,规划部门对商业面积的开发要求以及建筑形式的要求不同;对于开发商来讲,在具体开发中,应根据实际情况,选择好开发时间。开发太早,会由于居住人口规模没有达到基本需求,导致消费需求不足,租赁经营不理想;开发太晚,则不能很好满足居民的生活需求,且会损失商业机会。如天通苑,由于一开始没有发现商业价值,商业开发比较晚,所以当大量的人口入住后形成巨大的市场需求,入住的居民也发现商业价值,许多买了一层住宅的居民,将房屋纷纷租赁给装修、美容美发的商户。
  所以,我们必须在具体运营项目的时候,对周边商业的规划以及居住区商业配套、开发的时间进行调查和分析;对已经开发的居住区商业配套的情况、业态的构成进行综合分析。现在房地产的开发已经完全市场化运营,我们开发的目的不仅要实现市场价值的最大化,而且要实现社会效应的最大化。
七、消费者消费行为的调查与研究
  消费者的消费行为研究又称生活结构研究。对其调查和研究的目的主要是收集该地区内消费者生活形态的资料,即针对消费者生活的特性,从人口结构、家庭户数构成、收入水平、消费水平、购买行为以及选择的交通出行方式等方面对消费者消费行为进行定量和定性研究。
  1.人口结构。人口结构主要依据年龄、性别、教育程度、职业分布等进行分类整理,以便深入分析。除对目前的人口结构调查外,对过去人口的集聚、膨胀的速度以及将来人口结构的变迁进行预测。如在区域内规划建设高校,人口的增加的速度和人口结构变化将非常快,将直接影响整个区域的消费行为,而且对业态的设计产生重大影响。
  2.家庭户数构成。家庭户数构成是人口结构的基本资料之一,可依据家庭户数变动的情形及家庭人数、成员状况、人员的变化趋势进行了解,进而可以由人员构成比率,洞悉城市化的发展与生活形态的变化。如这几年通州区许多项目吸纳了大量的城市搬迁户和CBD的小白领,在短短时间内扩大了人口规模,而且家庭结构和户数完全不一样。城市的搬迁户以3-5人老中少三代同堂的家庭为主,而CBD的小白领以2人家庭模式居多。
  3.收入水平。根据收入水平确定消费的可能性、消费能力以及目前的消费处于什么样的状况。例如个人年收入在2万元的消费者和5万元的消费者相比,他们在选择服装的购买场所时是完全不同的。前者的选择以市场,而后者主要的选择地点是专卖店和百货商场。
  4.消费水平。消费水平是地区内消费活动的直接指标,对零售业来说是最重要的衡量指标。据此可以了解每一个家庭的消费情形,并针对消费内容依据商品类别划分,这样可以计算出商圈内的消费购买力的概况。
  5.购买行为。分析其主要的目的有二:一是可以了解消费者经常在哪里消费以及消费的主要商品和服务;二是知悉选择商品和服务的标准,以便对该地区的消费意识作深入探讨。
  6.交通和出行方式。随着汽车越来越多地进入家庭,人们交通方式变化,由此导致了消费者的购物习惯以及选择的消费内容。在消费者消费的空间和尺度上,对不同的业态、业种的需求在路上花费的时间都有心理尺度,如对家庭日用消费品的需求主要就近完成,在路上的时间要求在15分钟以内;而购买服装、家具电器等商品选择去大商场和购物中心,花费的时间可以比较长,而交通出行方式改变了消费的时间和空间,以前步行或骑自行车需要半小时,由于汽车进入家庭也许只需要10分钟。所以,对区域内消费者选择何种交通工具的研究非常重要。
八、立地条件研究
  除对区域内各种因素进行研究外,具体项目所处位置的立地能力也是非常重要的一个研究要素。立地力是指拟规划商业周围的环境和其本身的因素对商业经营的影响。所谓“一步三市”,立地差之毫厘,会导致业绩失之千里。
  一个商店的立地力,首先和他的周边环境密切相关,主要包括门前道路的类别、顾客来店的方便度、邻居的类别等。
  1.道路类别。道路类别是立地力的第一要素,它直接影响消费行为。道路依用途可分为交通枢纽、连接通道、交通干道、商业干道。像王府井大街是全国著名的商业干道;朝外大街兼具有商业干道和交通干道的双重功能。对商业选址来说,商业干道是最好的道路类别,其次就是靠近商业区的交通干道。
  2.顾客是否容易达到商业区。除了道路类别以外,还要考虑道路是否有障碍物,比如交通栏隔。以大家非常熟悉北京国际展览中心家乐福为例。以前没有中间交通栏隔的时候,从两个方向来的人流都比较容易去购物,而增加栏隔后对西面来的顾客非常不方便,交通栏隔对家乐福的影响怎么样,我们暂不理论,但是对面的许多专卖店和饭馆生意肯定会因此受到影响,即使增加了过街天桥,这种影响也难被消除。
  3.周边环境和目前的商业设施。这也是为什么北京的家具广场都喜欢选择在玉泉营的原因。同业经营虽然会使新店面临强大的竞争,但也能形成集合效应,带来单一消费人流;业态的错位经营或者互补性也很关键,玉泉营周边的花卉市场就具备业态的交叉性,有利于共同聚集人气。
  4.商业的能见度和日照情况。商业建筑能否容易找到即商业的能见度也是一个非常关键的要素,尤其是大型商业建筑。因为商业的根本目的是吸引顾客来消费,如果商业建筑不容易被找到或能见度差,就会影响到以后的经营。日照情况对商业经营也非常关键。据7月5日中央电视台报道,由于长沙市持续高温,在周末,许多消费者选择在商场购物躲避天气,商业街区东面门庭若市,而西面因为西晒的原因冷冷清清。但是在北方地区商业选址时,西南面的商业店铺会非常好,因为北方天气冷或凉的时间长,顾客更喜欢光顾西南面的商业。






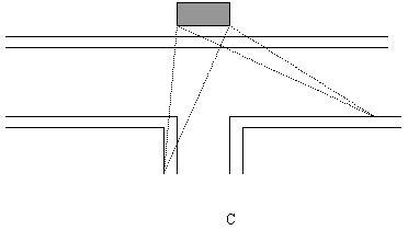
  图A商业沿平直街道布置,一面临街,能见度较低;图B商业在街道弯曲处设置,能见度外圈大于内圈;图C商业在“T”形道路交汇的顶头处,能见度也相对较高;图D商业在十字交口处能见度极高,但应注意对城市交通的影响;图E商业在商业街两端有较高的能见度;图F商业在公共广场的迎面处,能见度颇高。
九、商圈的确定和研究
  1.商圈的概念及分析目的
  商圈是以设定的商业建筑为圆心,以周围一定距离为半径所划定的范围。这是原则性的标准,在实际从事商圈设定时还必须考虑经营业种、商品特性、交通网分布等因素。进行商圈分析的目的有三:一是明确该商业区或商店的商圈范围;二是了解商圈的人口分布状况及生活结构;三是在此基础上进行经济效益的预测。如计划开超市,根据周边居民的人口规模、收入水平和竞争对手情况等指标,就可以基本计算出该店可能达到的营业额。
  2.商圈的构成及顾客来源
  商圈由核心商圈、次级商圈和边缘商圈(又称辐射商圈)组成。核心商圈的辐射半径在1公里左右。包括这一商店顾客总数的55-70%。该商圈的顾客在人口中占的密度最高,消费的客单价也最高,而且与其他商店的商圈很少发生重叠。
  次级商圈内包含了商店顾客总数的15-25%。其辐射的半径在3-4公里,对一般的日用消费品来讲,很少能辐射到该商圈的人口,关键是取决于经营业态。边缘商圈辐射的半径在7公里范围。一般情况下只有大型百货商场、专业店具备这样的辐射能力。如图:

  真正的商圈不是绝对的同心圆模式,其规模和形状是由各种各样的因素决定的。包括经营业态、商店规模、竞争者的位置、交通条件等许多因素。在商圈概念上有一个著名的海滩原理:即在一条海滩上做冷饮生意的两家商贩,一开始其各自的商圈范围是均衡的,由于竞争因素导致他们集中在一起,共同吸引顾客。如图:

  3.商圈的设定
  商圈的设定是一项非常复杂的工作,在决定经营什么业态的基础上,不仅要对周边竞争者状况进行调查和分析,基本确定其商圈范围,而且要分析业态需求的顾客群,因为每一顾客群都有特定的消费特征。因为,一方面只有经营的商品符合其需求才能吸引潜在顾客的购物,商圈的规模和辐射范围才能扩大。另一方面,撇开顾客自身的不同,商圈规模的大小与商品购买频率成反比。如顾客购买生鲜等日用消费品频率高,但是接受的购物距离短;而对服装、家具、电器等耐用消费品接受的购物距离长,但是其购买频率又非常低。所以,必须结合业态的规划来确定基本的商圈范围。
  根据业态规划,在商圈的构成基础上,对商圈进行设定,特别要针对拟吸引顾客群的生活结构对未来的经营销售额进行匡算,结合商店的实际情况,预计要达到的盈亏平衡点或目标销售额。
  4.确定商圈的方法
  商圈分析的方法有许多种,如零售吸引力法则(又称里利法则)、商业饱和理论、康维斯“新零售引力法则”和哈夫的“概率模型”等。

零售吸引力法则是从确定商圈人口和距离两个变量进行分析,商圈规模的大小是由于人口的多少和距离商店的远近决定的,商店的吸引力是由最临近商圈的人口和里程距离共同发挥作用。
  商业饱和理论是通过计算零售商业市场饱和系数,测定特定商圈内某类商品销售的饱和系数程度,通过其计算该区域内同行业是过多还是不足。
  康维斯“新零售引力法则”与里利法则的不同在于,前者在一个城市中间地带两个商业区或商店的竞争关系,后者表示在相互间有明确竞争关系的两个城市间其商业经营的比率关系。
  哈夫的“概率模型”完全从消费者的立场出发,认为消费者利用某一商业设施的概率,取决于表现商品丰富性的营业面积,以及为购物所消耗的时间及商业设施的规模实力。
  以上各种分析方法其研究的角度不同,所用的市场变量不同,达到的分析目的也不一样,在具体商圈分析过程中还是要结合具体实际情况有选择地运用。由于我国目前实际情况,市场变量采集困难,很难单纯用一种方法解决我们的分析问题,所以一般采取的办法是将定性和定量研究方法相结合综合运用。就如同商业的前期调查和研究以上只是必须的调查内容,仍有许多数据需要针对具体的项目进行调查,如人流量、车流量等等,关键弄清楚市场调查是为市场定位服务或者验证市场定位,市场调查只是手段,不是最终的目的。
作者: 潘好龙
财富论今——新的理念  心的飞越   
  • 上一篇财富:

  • 下一篇财富:
  • 打造全球最全最实用的财富中文资源平台!     的理念   的飞越